为响应国家节能减排,绿色建筑的政策。
艾德卡开展了楼地面隔声保温板块的工作。
EDKA艾德卡生产研发中心
艾德卡生产基地位于江苏徐州工业园区中经三路一号。占地50亩,总建筑面积33000多平方。
已引进国际先进地坪材料生产设备,全自动化机械生产,精准高效,年产能200万吨,已申报数项国家技术专利,在国内地坪行业处于领先地位。
EDKA艾德卡生产线
经过艾德卡研发团队的努力,我们的EDKA无机微晶隔声保温楼地面材料,已经得到了浙江省多位专家、领导的认可,并下发了推广证书。
艾德卡与中国建筑标准院共同编制的楼地面材料国家参考图集,经过两家主编单位一年多的努力,在建设部各个专家的帮助和指导下,图集已接近编制完成。期待早日出版,更好地服务于市场。
EDKA无机微晶隔声保温楼地面材料是建筑层间楼板板面具有隔声保温和防护作用的一种构造。是由无机微晶隔声保温层、界面层、高强度自流平防护层组合而成的。
实际应用于建筑楼板隔声保温工程中,可以确保工程质量,降低建筑物承载重量,营造舒适居住环境。
是一款绿色环保的节能型产品,具有节能减排的社会效益和经济效益的隔声保温楼地面材料。
EDKA无机微晶隔声保温楼地面材料示意图
相较于传统保温材料+细石混凝土的组合,EDKA无机微晶隔声保温楼地面材料在产品及工艺上做出了改进。针对于常见的开裂、空鼓、起砂、平整度差、厚度超标等问题做出了优化。
EDKA无机微晶隔声保温楼地面材料5大优势:
01 施工时间短
无机微晶隔声保温楼地面材料每天可施工 1200-1500㎡,且6小时即可上人。速度快且可大大节约其他工种的施工时间,节约整体工程施工时间。
02 平整度高
无机微晶隔声保温楼地面材料直接铺设地板,瓷砖可直接薄贴。不仅可解决精找平问题且可节约其他工程施工成本及便利性。
03 质量稳定
无机微晶隔声保温楼地面材料可确保楼地面不开裂,整体平整度好。可解决结构层水平误差及地面坑洼情况,一劳永逸。
04 适应性强
无机微晶隔声保温楼地面材料除具有保温、绝热、找平的功能外,还兼具隔声功能,适用范围广。完成面平整度高,适合各种地面装饰材料铺装。
05 绿色环保
有效改善楼板撞击声隔声性能,提升建筑健康舒适品质。 材料无毒害、无污染、无放射性。
扫描二维码查看
《EDKA艾德卡无机微晶隔声保温楼地面材料企业标准》

产品样板展示

项目成品展示

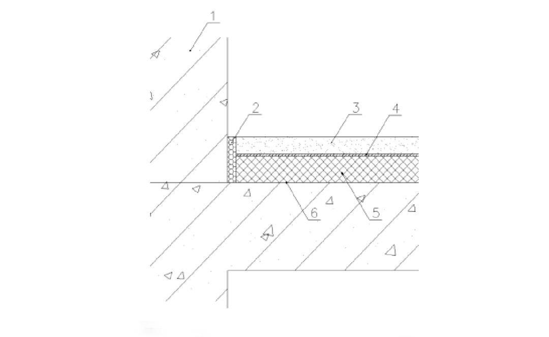
1-墙体 2-竖向隔声保温衬片 3-防护层 4-EDKA界面层5-无机微晶隔声保温层 6-结构底板
EDKA无机微晶隔声保温楼地面材料节点图
艾德卡楼地面保温隔声材料创新项目,年产能200万吨,目标产值10亿。已在国内多个城市住宅、政府安置房、未来社区项目中,获得上百万平米的实际应用,优异的品质和服务,获得广大用户一致好评!
EDKA无机微晶隔声保温楼地面材料
始于地面
不止于地面
